{"product":{"productId":"agid.12730","price":333.01,"name":"Mini bride pivotante avec levier à serrage rapide"},"currency":"USD"}
	Matière
								Acier de traitement.
							
						Afficher plus 
					
						Afficher moins 
				
			
				
			Description
							Matière
						
						
								Acier de traitement.
					
							Nota
						
						
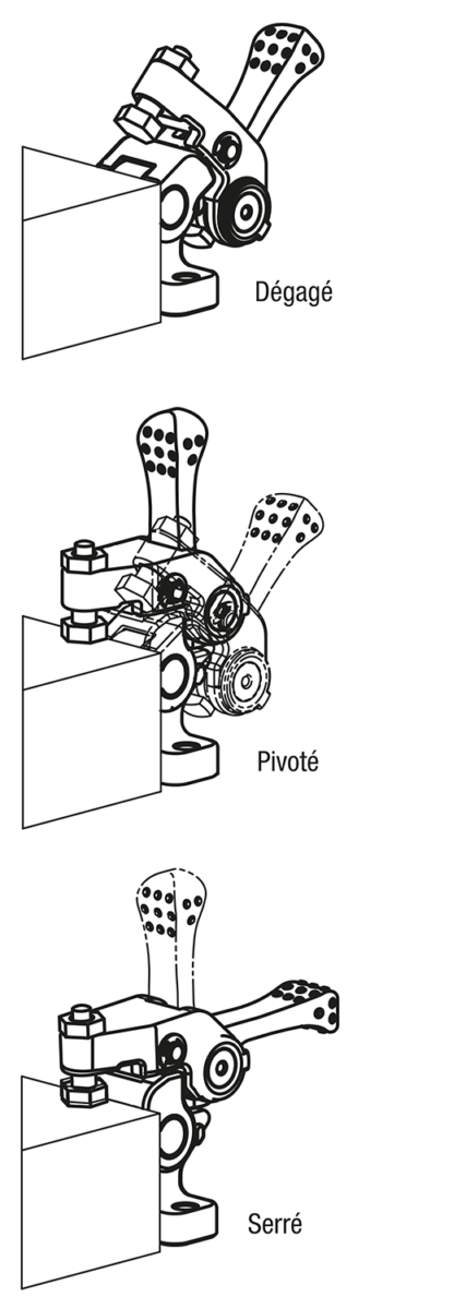
								Les ensembles de bridage pivotants sont utilisés afin de laisser le champ libre pour placer ou enlever la pièce à usiner.  * Force manuelle admissible pour la poignée.
					
            Remarque importante concernant le téléchargement des modèles CAO
        Pour pouvoir télécharger nos modèles CAO, vous devez d’abord connecter. Si vous n’avez pas encore créé de compte, inscrivez-vous en cliquant sur « Mon compte » (à droite de l’écran) et suivez les instructions.
        
        
        
     
                         
                         
                         
                         
			
                     
			
                     
			
                     
			
                     
			
                     
			
                     
			
                     
			
                     
			
                     
			
                     
			
                     
			
                     
			
                     
			
                     
			
                     
			
                     
			
                     
			
                     
			
                    