{"product":{"productId":"agid.613","price":10.52,"name":"Star grips quick-acting"},"currency":"USD"}
	Material
								Black thermoplastic. 
bushing steel.
							bushing steel.
Version
								bushing trivalent blue passivated
							
						Show more 
					
						Show less 
				
			
				
			Description
							Material
						
						
								Black thermoplastic. 
bushing steel.
					bushing steel.
							Version
						
						
								bushing trivalent blue passivated
					
							Note
						
						
								Quick-acting star grips can be used on all fixtures that do not require a high clamping force.
Tilt the grip to slide on, then straighten it to engage the threads.
					Tilt the grip to slide on, then straighten it to engage the threads.
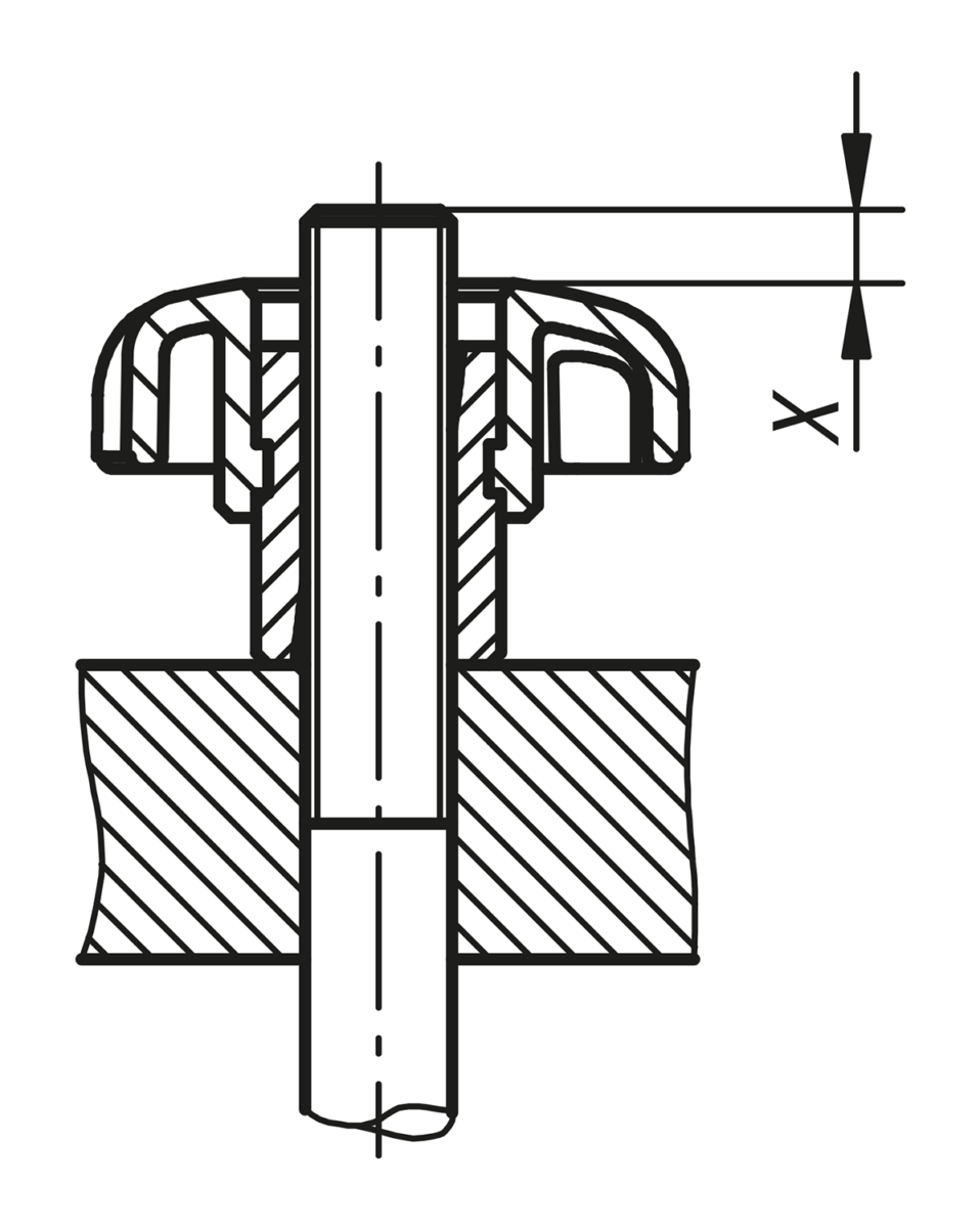
							Drawing reference
						
						
								X: The stud should be several mm longer than height “H”
					
            Important note on downloading CAD models
        You must log in before you can download our CAD models. If you have not yet created an account, please register under "My account" (right-hand side of the screen) and follow the instructions.
        
        
        
     
                         
                         
                         
                         
			
                     
			
                     
			
                     
			
                     
			
                     
			
                     
			
                     
			
                     
			
                     
			
                     
			
                     
			
                     
			
                     
			
                     
			
                     
			
                     
			
                     
			
                     
			
                    