{"product":{"productId":"agid.24040","price":183.06,"name":"Side clamp with cam"},"currency":"USD"}
Material
Carbon steel.
Version
Black oxidized.
Show more
Show less
Description
Material
Carbon steel.
Version
Black oxidized.
Assembly
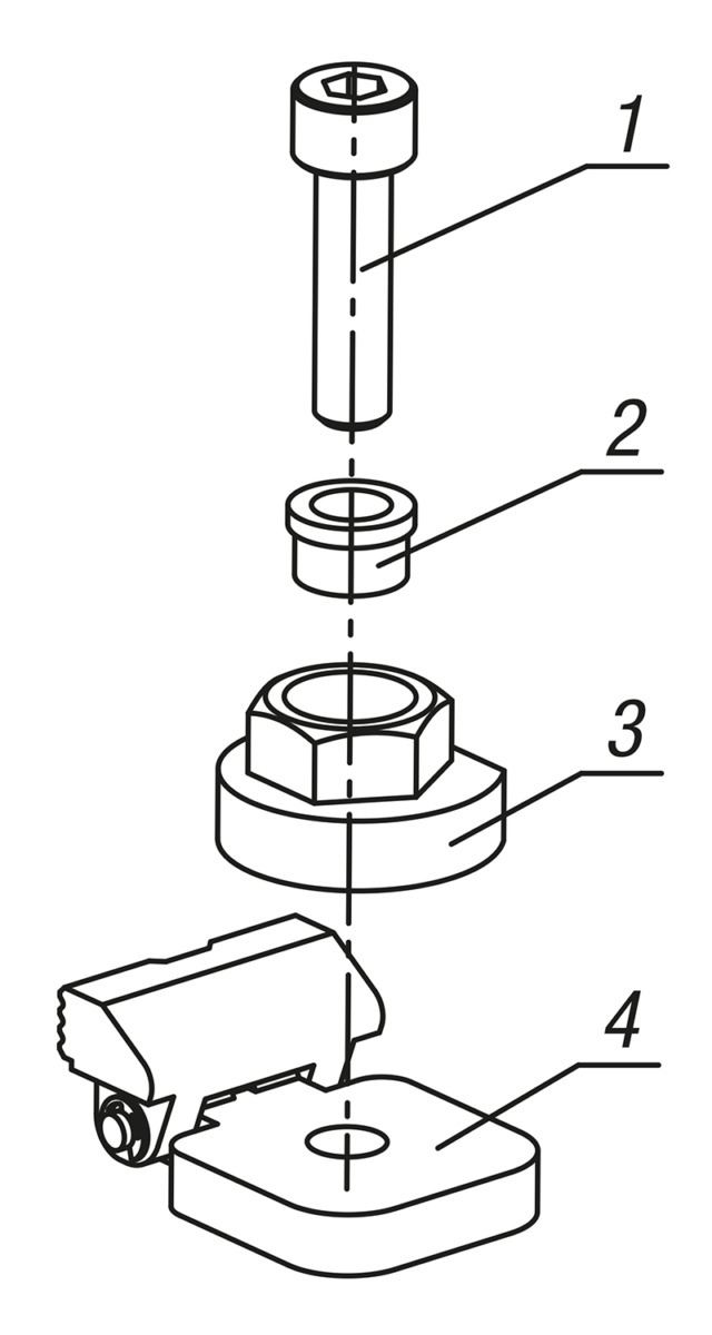
1. Screw the locking screw into the collar bush, fixture clamp and clamping unit and screw onto the baseplate.
2. The workpiece is clamped by tightening the fixture clamp with a spanner.
2. The workpiece is clamped by tightening the fixture clamp with a spanner.
Advantages
- Compact design
- Quick and easy clamping of components
- Pull-down effect
- Quick and easy clamping of components
- Pull-down effect
Drawing reference
1) Locking screw
2) Collar bush
3) Fixture clamp
4) Clamping unit
2) Collar bush
3) Fixture clamp
4) Clamping unit
Important note on downloading CAD models
You must log in before you can download our CAD models. If you have not yet created an account, please register under "My account" (right-hand side of the screen) and follow the instructions.