{"product":{"productId":"agid.22814","price":1.71,"name":"Handwheel washers"},"currency":"USD"}
Material
Steel.
Stainless steel 1.4305.
Version
Steel black oxidized.
Stainless steel bright.
Stainless steel bright.
Show more
Show less
Description
Material
Steel.
Stainless steel 1.4305.
Version
Steel black oxidized.
Stainless steel bright.
Stainless steel bright.
Note
These washers are used together with DIN EN ISO 2009 or DIN EN ISO 10642 countersunk screws on the end of shafts with keyways to secure handwheels and crank handles.
The washers can be used with the handwheels K0671, K0160, K0161, K0162, K0163, K0164, K0165.
The steel washers are often used as caps for magnets.
The washers can be used with the handwheels K0671, K0160, K0161, K0162, K0163, K0164, K0165.
The steel washers are often used as caps for magnets.
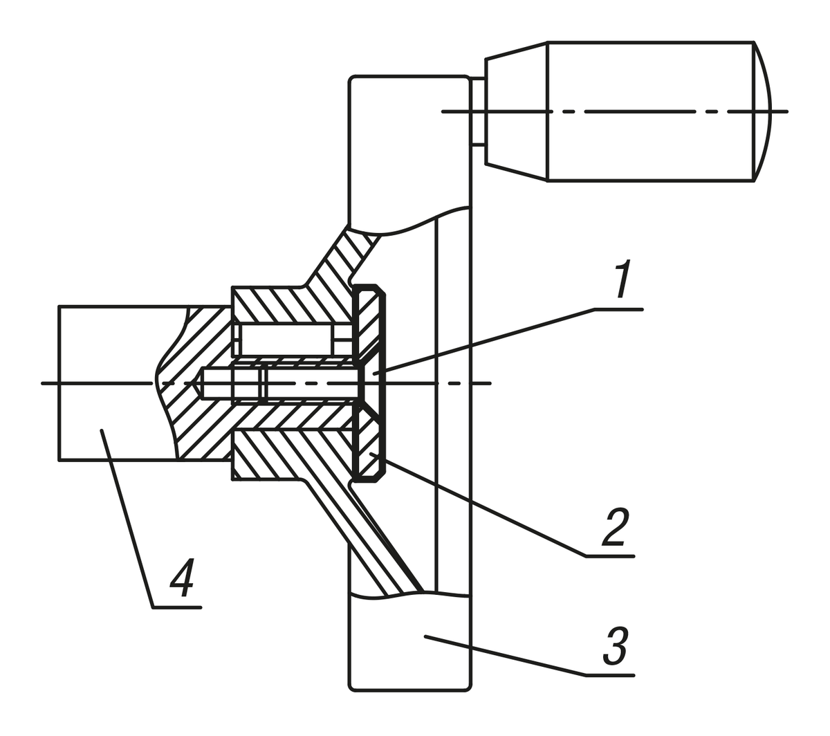
Drawing reference
D3 = for countersunk screw ISO 2009 and ISO 10642
1) countersunk screw ISO 2009 and ISO 10642
2) washer
3) handwheel
4) shaft
1) countersunk screw ISO 2009 and ISO 10642
2) washer
3) handwheel
4) shaft
Important note on downloading CAD models
You must log in before you can download our CAD models. If you have not yet created an account, please register under "My account" (right-hand side of the screen) and follow the instructions.